WLD4FP-313111A0ZZZ 1121475
















WLD4FP-313111A0ZZZ 1121475基本信息
型号: WLD4FP-313111A0ZZZ
订货号: 1121475
参考面价: 101.00 EUR
WLD4FP-313111A0ZZZ 1121475基本属性
净重:0.036 KG
毛重:0.036 KG
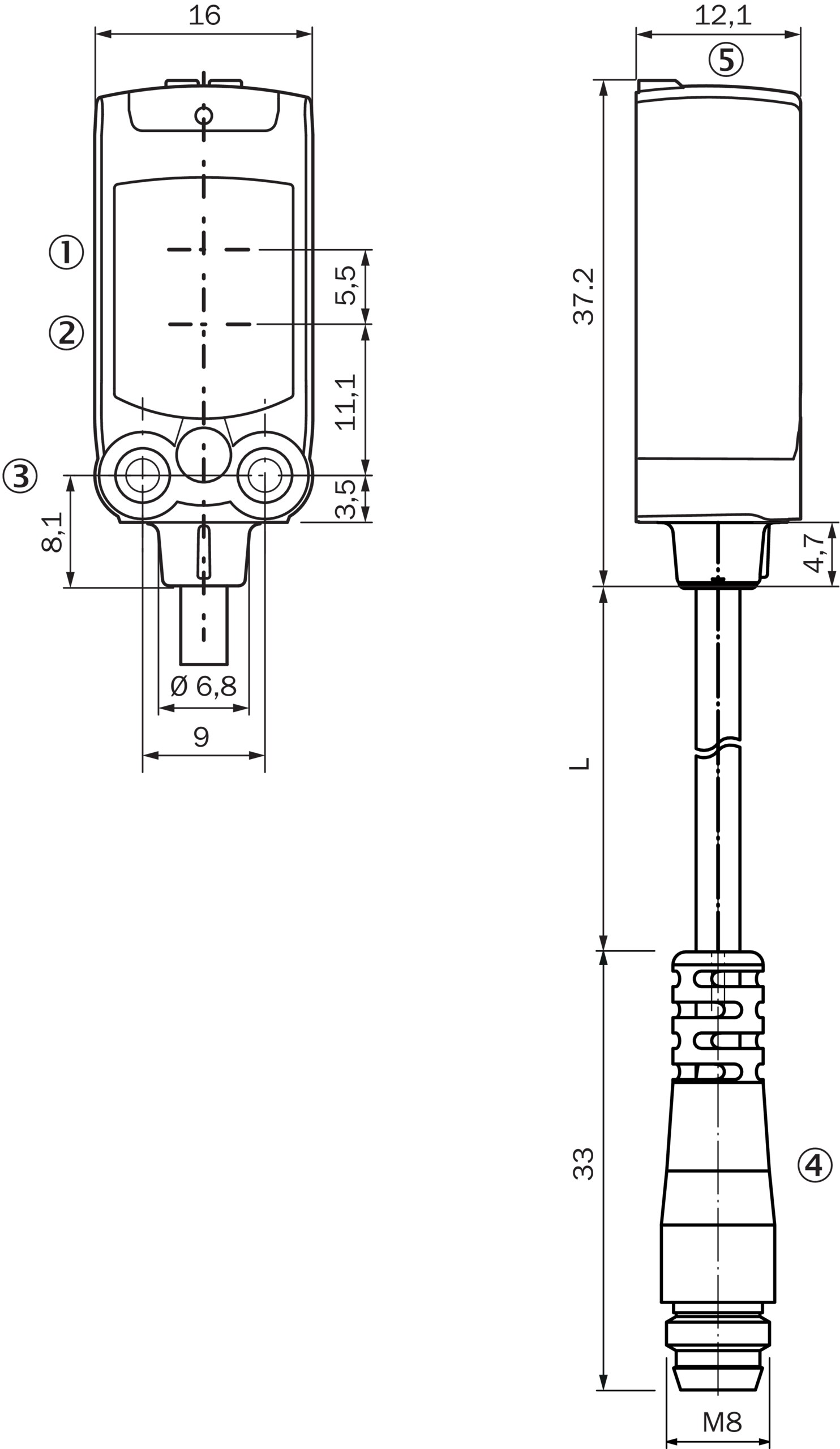
长度:60 mm
宽度:48 mm
高度:100 mm
WLD4FP-313111A0ZZZ 1121475特征
- 工作原理:
- Reflexions-Lichtschranke
- 功能原理细节:
- Mit Mindestabstand zum Reflektor (Doppellinsensystem)
- 切换距离:
- 最小切换距离。:
- 0 m
- 最大切换距离。:
- 4,5 m
- 反射镜到传感器的最大距离(功能保留1):
- 0,015 m ... 4,5 m
- 推荐反射器到传感器的距离范围(功能保留3.75):
- 0,035 m ... 3,9 m
- 参考反射器:
- Reflektor P250
- 建议的切换距离范围可获得最佳性能:
- 0,035 m ... 3,9 m
- 偏振滤波器:
- Ja
- 传输光束:
- 发光体:
- PinPoint-LED
- 灯的类型:
- Sichtbares Rotlicht
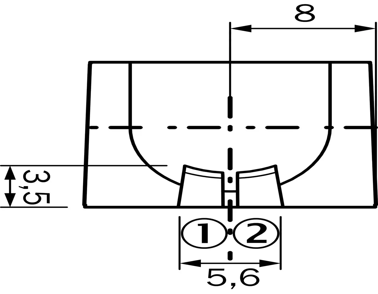
- 光点形状:
- Punktförmig
- 光点大小(距离):
- Ø 38 mm (1.000 mm)
- 标准传输轴的传输光束的最大色散(斜角):
- < +/- 1.5° (bei TU = +23 °C)
- LED特性:
- 引用标准:
- EN 62471:2008-09 | IEC 62471:2006, modifiziert
- LED风险组标签:
- Freie Gruppe
- 波长:
- 635 nm
- 中等使用寿命:
- 100.000 h bei TU = +25 °C
- 背景:
- 没有一个:
- –
- 陈列:
- LED绿色:
- Betriebsanzeige
- Statisch an: Power on
- LED黄色:
- Status Lichtempfang
- Statisch an: Objekt nicht anwesend
- Statisch aus: Objekt anwesend
- Blinkend: Unterschreitung der Funktionsreserve 1,5
WLD4FP-313111A0ZZZ 1121475安全参数
- MTTFD:
- 1.390 Jahre
- DCavg:
- 0 %
- TM(使用寿命):
- 20 Jahre (EN ISO 13849, Nutzungsrate: 60 %)
WLD4FP-313111A0ZZZ 1121475电气数据
- 电源电压UB:
- 10 V DC ... 30 V DC 1)
- 余纹波:
- ≤ 5 Vss
- 使用类别:
- DC-12 (Nach EN 60947-5-2)
- DC-13 (Nach EN 60947-5-2)
- 电流消耗:
- ≤ 20 mA, ohne Last. Bei UB = 24 V
- 防护等级:
- III
- 数字输出:
- 数字:
- 1
- 种:
- Gegentakt: PNP/NPN
- 信号电压PNP HIGH/LOW:
- Ca. UB-2,5 V / 0 V
- 信号电压NPN HIGH/LOW:
- Ca. UB / < 2,5 V
- 输出电流Imax。:
- ≤ 100 mA
- 保护电路输出:
- Verpolsicher
- :
- Überstromfest
- :
- Kurzschlussfest
- 响应时间:
- ≤ 500 µs
- 重复精度(响应时间):
- 150 µs 2)
- 开关频率:
- 1.000 Hz 3)
- 引脚/导线分配:
- 功能引脚4°黑色(黑色):
- Digitalausgang, dunkelschaltend, Objekt anwesend → Ausgang Q HIGH 4)
WLD4FP-313111A0ZZZ 1121475机械数据
- 设计:
- Quaderförmig
- 设计细节:
- Flat
- 尺寸(宽x高x高):
- 16 mm x 40,1 mm x 12,1 mm
- 联系:
- Leitung mit Stecker M8, 3-polig, 110 mm
- 连接细节:
- 冻结特性:
- Unter 0 °C Leitung nicht verformen
- 导线横截面:
- 0,14 mm²
- 线路直径:
- Ø 3,4 mm
- 线路长度(L):
- 77 mm
- 布料:
- 住房:
- Kunststoff, VISTAL®
- 挡风玻璃:
- Kunststoff, PMMA
- 经营:
- PVC
- 插头:
- Kunststoff, VISTAL®
- 重量:
- Ca. 30 g
- 紧固螺钉的最大拧紧力矩:
- 0,4 Nm
WLD4FP-313111A0ZZZ 1121475环境数据
- 保护类型:
- IP66 (EN 60529)
- IP67 (EN 60529)
- IP69 (EN 60529)
- 环境温度操作:
- –40 °C ... +60 °C
- 环境温度轴承:
- –40 °C ... +75 °C
- 类型对外界光线不敏感:
- Künstliches Licht: ≤ 50.000 lx
- Sonnenlicht: ≤ 50.000 lx
- 抗冲击性:
- 30 g, 11 ms (3 positive und 3 negative Schocks entlang der X-, Y-, Z-Achse, insgesamt 18 Schocks (EN60068-2-27))
- 抗振动性:
- 10 Hz ... 1.000 Hz (Amplitude 1 mm, 3 x 30 min (EN60068-2-6))
- 湿度:
- 35 % ... 95 %, relative Luftfeuchte (kein Beschlag)
- 电磁兼容性(EMC):
- EN 60947-5-2
- 耐洗涤剂:
- ECOLAB
- UL文件号。:
- NRKH.E181493 & NRKH7.E181493
WLD4FP-313111A0ZZZ 1121475分类
- ECLASS 5.0:
- 27270902
- ECLASS 5.1.4:
- 27270902
- ECLASS 6.0:
- 27270902
- ECLASS 6.2:
- 27270902
- ECLASS 7.0:
- 27270902
- ECLASS 8.0:
- 27270902
- ECLASS 8.1:
- 27270902
- ECLASS 9.0:
- 27270902
- ECLASS 10.0:
- 27270902
- ECLASS 11.0:
- 27270902
- ECLASS 12.0:
- 27270904
- ETIM 5.0:
- EC002717
- ETIM 6.0:
- EC002717
- ETIM 7.0:
- EC002717
- ETIM 8.0:
- EC002717
- UNSPSC 16.0901:
- 39121528















